影響熱風爐使用壽命的“殺手”——應力集中
2026-04-16 04:08:01
應力集中客觀存在 優化改進迫在眉睫
在煉鐵生產中,引進的小拱頂頂燃式熱風爐熱風出口內襯旋磚往往出現變形、爐殼發紅、熱風出口垮塌、拱(gong)頂(ding)垮(kua)塌(ta)爐(lu)殼(ke)開(kai)裂(lie)等(deng)情(qing)況(kuang)。這(zhe)不(bu)僅(jin)導(dao)致(zhi)熱(re)風(feng)爐(lu)溫(wen)度(du)長(chang)期(qi)處(chu)於(yu)不(bu)穩(wen)定(ding)降(jiang)低(di)風(feng)溫(wen)運(yun)行(xing)狀(zhuang)態(tai),而(er)且(qie)嚴(yan)重(zhong)時(shi)會(hui)導(dao)致(zhi)停(ting)產(chan)檢(jian)修(xiu),給(gei)企(qi)業(ye)帶(dai)來(lai)巨(ju)大(da)的(de)經(jing)濟(ji)損(sun)失(shi)。分(fen)析(xi)這(zhe)些(xie)問(wen)題(ti)產(chan)生(sheng)的(de)根(gen)本(ben)原(yuan)因(yin),在(zai)於(yu)爐(lu)襯(chen)耐(nai)材(cai)結(jie)構(gou)設(she)計(ji)的(de)應(ying)力(li)集(ji)中(zhong)和(he)爐(lu)殼(ke)加(jia)工(gong)焊(han)接(jie)應(ying)力(li)集(ji)中(zhong)所(suo)致(zhi)。經(jing)進(jin)一(yi)步(bu)分(fen)析(xi),這(zhe)兩(liang)類(lei)應(ying)力(li)集(ji)中(zhong)產(chan)生(sheng),是(shi)因(yin)為(wei)爐(lu)襯(chen)上(shang)部(bu)采(cai)用(yong)了(le)優(you)質(zhi)高(gao)膨(peng)脹(zhang)矽(gui)質(zhi)耐(nai)火(huo)磚(zhuan)砌(qi)築(zhu)的(de)錐(zhui)形(xing)拱(gong)頂(ding),該(gai)拱(gong)頂(ding)與(yu)砌(qi)築(zhu)在(zai)熱(re)風(feng)出(chu)口(kou)直(zhi)段(duan)的(de)大(da)牆(qiang)聯(lian)接(jie)組(zu)成(cheng)了(le)一(yi)種(zhong)特(te)殊(shu)燃(ran)燒(shao)室(shi)結(jie)構(gou)。該(gai)燃(ran)燒(shao)室(shi)結(jie)構(gou)限(xian)製(zhi)在(zai)上(shang)小(xiao)下(xia)大(da)的(de)錐(zhui)形(xing)爐(lu)殼(ke)內(nei),當(dang)熱(re)風(feng)爐(lu)處(chu)於(yu)烘(hong)爐(lu)及(ji)加(jia)熱(re)過(guo)程(cheng)中(zhong),造(zao)成(cheng)耐(nai)火(huo)材(cai)料(liao)膨(peng)脹(zhang),就(jiu)會(hui)形(xing)成(cheng)更(geng)為(wei)複(fu)雜(za)的(de)應(ying)力(li)集(ji)中(zhong),會(hui)造(zao)成(cheng)熱(re)風(feng)出(chu)口(kou)耐(nai)材(cai)砌(qi)體(ti)變(bian)形(xing),爐(lu)殼(ke)受(shou)力(li)開(kai)裂(lie)。同(tong)時(shi),在(zai)周(zhou)期(qi)性(xing)4千克/平方厘米~5.5千克/平方厘米的送風氣體壓力作用下,熱風爐在長期運行過程中,熱風爐爐襯應力集中部位就會產生熱疲勞損壞、爐lu殼ke焊han縫feng腐fu蝕shi開kai裂lie等deng弊bi端duan。因yin此ci,為wei減jian少shao和he消xiao除chu應ying力li集ji中zhong,確que保bao熱re風feng爐lu結jie構gou穩wen定ding長chang壽shou,就jiu迫po切qie需xu要yao對dui現xian有you頂ding燃ran式shi熱re風feng爐lu燃ran燒shao室shi結jie構gou進jin行xing優you化hua改gai進jin。
創新設計爐殼結構 應力集中消退衰減
近jin年nian來lai,國guo內nei外wai熱re風feng爐lu設she計ji專zhuan家jia及ji其qi團tuan隊dui殫dan精jing竭jie慮lv,設she計ji踐jian行xing出chu不bu少shao先xian進jin適shi用yong且qie符fu合he煉lian鐵tie生sheng產chan安an全quan實shi際ji的de長chang壽shou高gao風feng溫wen熱re風feng爐lu結jie構gou,推tui動dong我wo國guo熱re風feng爐lu安an全quan生sheng產chan登deng上shang了le新xin台tai階jie。例li如ru,首shou鋼gang一yi級ji科ke學xue家jia,京jing唐tang鋼gang鐵tie公gong司si總zong設she計ji師shi、京唐鋼鐵公司煉鐵設備專家、zonggongchengshizhangfumingjiaoshoujiehechangqiwendingyunxingdeguowaidulixuanlianxianranshaoshijiegouherefengludulizhuixinggongdingjiegoudeyouyuejishutedian,jiehexianyoudingranshirefenglulukekailieherefengchukousunhuaikuatadengshijianyanjiu,famingle《頂燃式熱風爐圓弧擬合懸鏈線獨立拱頂結構》新的技術成果(圖3),受到了煉鐵界的歡迎。該設計成果是對現有受力不合理的頂燃式熱風爐錐形拱頂(圖 1、圖2)實施了圓弧擬合懸鏈線結構(圖3)和獨立支撐拱頂的受力改進(圖4)。

圖1為傳統小帽子頂燃式熱風爐燃燒室錐形體拱頂結構

圖2為實踐中錐形砌體內襯高溫受力導致錐形砌體中部往下凸起變形、下部拱腳部位變形外擴導致耐材砌體受力和球麵部位爐殼受力狀態示意圖

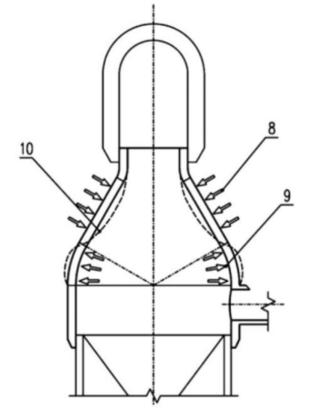
圖3為結合國際國內實踐驗證的懸鏈線拱頂結構優化錐形砌體受力平衡示意圖

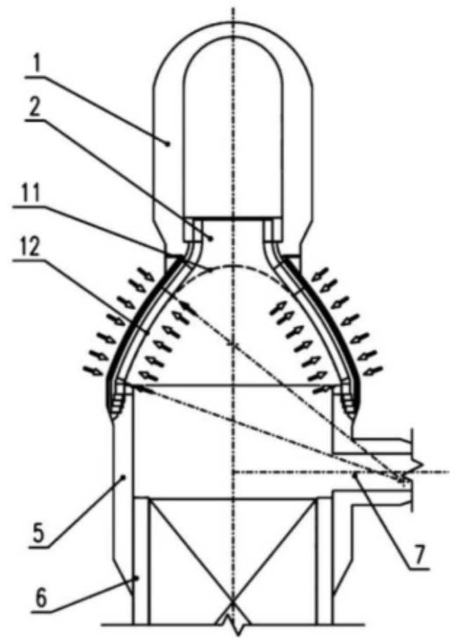
圖4為將擬合懸鏈線拱頂結構與下部熱風出口直段分離,減少疊加應力,穩定長壽結構示意圖
同時,豫興公司的獨立支撐拱頂裝置頂燃式熱風爐(圖4,在國際國內使用和在建數百座進行了實踐驗證)、張福明及其和他的團隊發明的獨立支撐拱頂裝置的擬合懸鏈線頂燃式熱風爐(圖3)、中冶京誠四段式結構(圖4)guowaigongsidingranshirefengludengdengjunyefenfencaiyongfangzhihejianshaoyinglijizhongdewendingjiegou,bingshishilejinxingleshuqianbaizuorefengluchangqideshijianyanzheng。zhexiequanshileweifangzhihejianshaorefengluluchenhelukeyinglijizhong,shuqianbaimingkexuejiachangqizhiliyuyouhuarefengluranshaoshijiegou、燃燒器結構、熱風出口結構、熱風出口與爐體的連接方式等措施,解決了高風溫熱風爐使用壽命短的共性技術問題,也給熱風爐設計工作者提供了科學的設計依據。

圖5為圖2對應,錐形燃燒室拱頂應力集中導致的熱風爐拱頂應力坍塌

圖6為圖2對應,應力集中導致的熱風爐熱風出口坍塌

圖7為應力集中導致的熱風爐爐殼焊縫拉開開裂
晶間腐蝕不可忽視 應力腐蝕更應警惕
熱風爐爐殼在校對焊接或者運行過程中,爐殼也會出現裂紋、焊han縫feng開kai裂lie,甚shen至zhi偶ou爾er會hui出chu現xian爐lu殼ke拱gong頂ding與yu殼ke體ti分fen離li等deng危wei險xian現xian象xiang發fa生sheng。遇yu到dao了le焊han縫feng開kai裂lie或huo者zhe拱gong頂ding與yu殼ke體ti分fen離li,一yi般ban情qing況kuang下xia,人ren們men往wang往wang不bu分fen析xi是shi什shen麼me原yuan因yin造zao成cheng這zhe樣yang的de事shi故gu,就jiu毫hao無wu顧gu忌ji地di進jin行xing二er次ci校xiao對dui焊han接jie。然ran而er,爐lu殼ke在zai焊han接jie過guo程cheng中zhong產chan生sheng的de裂lie紋wen,一yi般ban都dou會hui出chu現xian在zai爐lu殼ke內nei壁bi,焊han縫feng外wai麵mian看kan上shang去qu完wan好hao無wu損sun,經jing過guo高gao溫wen運yun行xing後hou,出chu現xian的de腐fu蝕shi介jie質zhi滲shen進jin裂lie紋wen縫feng隙xi中zhong導dao致zhi爐lu殼ke外wai麵mian焊han縫feng開kai裂lie,一yi般ban采cai取qu的de措cuo施shi就jiu是shi在zai焊han縫feng處chu補bu焊han一yi塊kuai鋼gang板ban,讓rang熱re風feng爐lu繼ji續xu運yun行xing。經jing處chu理li運yun行xing一yi段duan時shi間jian後hou,又you出chu現xian補bu焊han部bu位wei焊han縫feng開kai裂lie,導dao致zhi漏lou風feng或huo者zhe安an全quan隱yin患huan存cun在zai。某mou企qi業ye對dui爐lu殼ke裂lie紋wen進jin行xing了le檢jian測ce,結jie論lun是shi應ying力li腐fu蝕shi。也ye有you資zi料liao介jie紹shao說shuo,爐lu殼ke焊han縫feng開kai裂lie是shi由you晶jing間jian腐fu蝕shi或huo者zhe說shuo是shi應ying力li晶jing間jian腐fu蝕shi造zao成cheng的de。但dan不bu少shao專zhuan家jia卻que認ren為wei,這zhe種zhong說shuo法fa不bu完wan全quan準zhun確que。
jiuqiyuanyin,xianlaitantaoshenmeshijingjianfushi?jingjianfushishizhifushiyanjingjiejinxing。qiweixianxinghenda,yinweitatongchangbuhuiyinqijinshuwaixingderenhebianhua,danquenengshijinshudejixiexingnengjijujiangdi,yizhiyinqituranpohuai(這zhe種zhong破po壞huai往wang往wang使shi人ren始shi料liao不bu及ji,它ta讓rang你ni看kan到dao的de都dou是shi完wan好hao光guang亮liang無wu損sun的de金jin屬shu表biao麵mian,但dan金jin屬shu間jian結jie合he力li被bei破po壞huai,材cai料liao幾ji乎hu喪sang失shi強qiang度du,嚴yan重zhong者zhe輕qing輕qing敲qiao擊ji便bian成cheng為wei粉fen末mo)。晶間腐蝕產生的原因,一般認為是鋼材本身的碳與鉻形成 (Cr23C6)鉻(ge)碳(tan)化(hua)物(wu),這(zhe)類(lei)鉻(ge)的(de)碳(tan)化(hua)物(wu)沿(yan)晶(jing)界(jie)析(xi)出(chu)時(shi),就(jiu)會(hui)產(chan)生(sheng)碳(tan)化(hua)物(wu)周(zhou)圍(wei)局(ju)部(bu)貧(pin)鉻(ge)區(qu)域(yu)。當(dang)貧(pin)鉻(ge)區(qu)域(yu)局(ju)部(bu)鉻(ge)含(han)量(liang)降(jiang)低(di)到(dao)不(bu)鏽(xiu)鋼(gang)耐(nai)腐(fu)蝕(shi)所(suo)需(xu)的(de)最(zui)低(di)含(han)量(liang)以(yi)下(xia),就(jiu)會(hui)產(chan)生(sheng)晶(jing)間(jian)腐(fu)蝕(shi),即(ji)“晶間貧鉻理論”。這說明產生晶間腐蝕的鋼材是含鉻量高的不鏽鋼,如奧氏體不鏽鋼1Cr18Ni9Ti、2Cr18Ni9、馬氏體不鏽鋼1Cr13、2Cr13等;也說明熱風爐不鏽鋼爐殼在校對焊接時,應特別注意預防焊接過程中,出現焊接缺陷,造成熱風爐運行過程中,在3千克/平方厘米~5千克/平方厘米交變熱應力作用下,爐殼焊縫缺陷處產生疲勞,造成焊縫開裂。
我國熱風爐所用的材料絕大部分是含碳量≤0.2%的高強度低合金結構鋼,如Q345C、Q345R等。它們的化學成分中的Cr≤0.30%,與“晶間貧鉻理論”中的Cr含量相差甚遠,所以不會產生晶間腐蝕。
所謂應力腐蝕是在靜應力(金屬的內外應力)zuoyongxia,jinshuzaifushijiezhizhongdepohuaichengweiyinglifushi。fushipilaoshizaijiaobianyinglizuoyongxia,jinshuzaifushijiezhizhongdepohuaichengweifushipilao。yinglifushiyufushipilao,shiyingliyujiezhiliangzhongyinsugongtongzuoyongxiasuochanshengdepohuaixingshi。yinglifushibijiaozhunque。
調查分析認為:爐殼在校對焊接過程中,焊縫裂紋是爐殼鋼板在加工成型過程中,由於鋼板的永久變形而產生材料內部組織應力;再加上加工過程中的精度誤差,會給爐殼校對、焊接造成很大的影響。在熱風爐爐殼校對焊接過程中,爐體大牆部位、燃燒室下部結構簡單,校對焊接比較容易,一般情況下不會產生焊縫開裂現象。但是燃燒室以上部位(含燃燒室)是shi爐lu殼ke結jie構gou複fu雜za的de部bu位wei,該gai部bu位wei是shi燃ran燒shao室shi與yu熱re風feng出chu口kou相xiang連lian接jie的de地di方fang。其qi幾ji何he形xing狀zhuang變bian化hua比bi較jiao大da,容rong易yi出chu現xian焊han接jie缺que陷xian,也ye是shi應ying力li集ji中zhong傾qing向xiang最zui嚴yan重zhong的de部bu位wei。因yin此ci,焊han縫feng開kai裂lie幾ji乎hu全quan部bu發fa生sheng在zai這zhe個ge部bu位wei。
專家們分析認為:在(zai)熱(re)風(feng)爐(lu)燃(ran)燒(shao)室(shi)部(bu)位(wei)由(you)於(yu)結(jie)構(gou)複(fu)雜(za),在(zai)校(xiao)對(dui)焊(han)接(jie)過(guo)程(cheng)中(zhong)會(hui)出(chu)現(xian)積(ji)累(lei)誤(wu)差(cha),造(zao)成(cheng)圓(yuan)環(huan)合(he)攏(long)處(chu)錯(cuo)位(wei),需(xu)要(yao)用(yong)鋼(gang)釺(qian)撬(qiao)動(dong)或(huo)者(zhe)用(yong)夾(jia)板(ban)與(yu)螺(luo)栓(shuan)緊(jin)固(gu)撬(qiao)動(dong),強(qiang)行(xing)合(he)攏(long),這(zhe)樣(yang)被(bei)撬(qiao)動(dong)鋼(gang)板(ban)的(de)彎(wan)曲(qu)部(bu)位(wei)會(hui)產(chan)生(sheng)應(ying)力(li)集(ji)中(zhong)。焊(han)接(jie)前(qian)如(ru)果(guo)把(ba)鋼(gang)釺(qian)或(huo)者(zhe)夾(jia)板(ban)和(he)螺(luo)栓(shuan)鬆(song)開(kai),鋼(gang)板(ban)就(jiu)會(hui)恢(hui)複(fu)到(dao)原(yuan)位(wei),應(ying)力(li)集(ji)中(zhong)就(jiu)會(hui)自(zi)動(dong)消(xiao)除(chu)。這(zhe)是(shi)因(yin)為(wei)鋼(gang)板(ban)產(chan)生(sheng)的(de)彈(dan)性(xing)變(bian)形(xing),在(zai)消(xiao)除(chu)外(wai)力(li)作(zuo)用(yong)後(hou),恢(hui)複(fu)原(yuan)形(xing)消(xiao)除(chu)了(le)應(ying)力(li)集(ji)中(zhong)。而(er)我(wo)們(men)撬(qiao)動(dong)鋼(gang)板(ban)的(de)目(mu)的(de)是(shi)合(he)攏(long),合(he)攏(long)的(de)目(mu)的(de)是(shi)焊(han)接(jie)。當(dang)爐(lu)殼(ke)鋼(gang)板(ban)在(zai)外(wai)力(li)作(zuo)用(yong)下(xia)強(qiang)行(xing)合(he)攏(long)後(hou),由(you)彈(dan)性(xing)變(bian)形(xing)轉(zhuan)變(bian)為(wei)永(yong)久(jiu)變(bian)形(xing),鋼(gang)板(ban)的(de)受(shou)力(li)彎(wan)曲(qu)部(bu)位(wei)就(jiu)是(shi)應(ying)力(li)集(ji)中(zhong)的(de)地(di)方(fang),但(dan)不(bu)是(shi)外(wai)力(li)作(zuo)用(yong)的(de)部(bu)位(wei)。因(yin)此(ci),在(zai)校(xiao)對(dui)過(guo)程(cheng)中(zhong),要(yao)盡(jin)量(liang)減(jian)少(shao)和(he)避(bi)免(mian)爐(lu)殼(ke)撬(qiao)動(dong)合(he)攏(long)。爐(lu)殼(ke)校(xiao)對(dui)過(guo)程(cheng)中(zhong)鋼(gang)板(ban)彎(wan)曲(qu)處(chu)產(chan)生(sheng)的(de)應(ying)力(li)集(ji)中(zhong),是(shi)鋼(gang)板(ban)在(zai)外(wai)力(li)作(zuo)用(yong)下(xia),強(qiang)行(xing)合(he)攏(long)造(zao)成(cheng)彈(dan)性(xing)變(bian)形(xing)轉(zhuan)變(bian)為(wei)永(yong)久(jiu)變(bian)形(xing)產(chan)生(sheng)的(de)應(ying)力(li)集(ji)中(zhong)。焊(han)接(jie)過(guo)程(cheng)產(chan)生(sheng)的(de)應(ying)力(li)集(ji)中(zhong),是(shi)鋼(gang)板(ban)被(bei)強(qiang)行(xing)合(he)攏(long)後(hou),把(ba)鋼(gang)板(ban)與(yu)鋼(gang)板(ban)連(lian)接(jie)處(chu)的(de)縫(feng)隙(xi)加(jia)熱(re)焊(han)接(jie),使(shi)焊(han)區(qu)熔(rong)池(chi)中(zhong)的(de)液(ye)體(ti)金(jin)屬(shu)處(chu)於(yu)很(hen)高(gao)的(de)溫(wen)度(du)(可達2000℃以上),造(zao)成(cheng)焊(han)縫(feng)焊(han)接(jie)時(shi)加(jia)熱(re)膨(peng)脹(zhang),而(er)停(ting)焊(han)時(shi)冷(leng)卻(que)收(shou)縮(suo),產(chan)生(sheng)應(ying)力(li)集(ji)中(zhong)。那(na)麼(me),撬(qiao)動(dong)合(he)攏(long)鋼(gang)板(ban)彎(wan)曲(qu)處(chu)產(chan)生(sheng)的(de)應(ying)力(li)集(ji)中(zhong)與(yu)焊(han)接(jie)時(shi),外(wai)力(li)作(zuo)用(yong)部(bu)位(wei)在(zai)焊(han)接(jie)過(guo)程(cheng)產(chan)生(sheng)的(de)應(ying)力(li)集(ji)中(zhong)及(ji)各(ge)部(bu)位(wei)焊(han)接(jie)過(guo)程(cheng),加(jia)熱(re)冷(leng)卻(que)產(chan)生(sheng)的(de)應(ying)力(li)集(ji)中(zhong)聯(lian)係(xi)在(zai)一(yi)起(qi),就(jiu)是(shi)更(geng)為(wei)複(fu)雜(za)的(de)應(ying)力(li)集(ji)中(zhong)。彈(dan)性(xing)變(bian)形(xing)轉(zhuan)變(bian)為(wei)永(yong)久(jiu)變(bian)形(xing)後(hou),當(dang)產(chan)生(sheng)的(de)應(ying)力(li)集(ji)中(zhong)大(da)於(yu)外(wai)力(li)作(zuo)用(yong),加(jia)上(shang)焊(han)接(jie)加(jia)熱(re)冷(leng)卻(que)時(shi)產(chan)生(sheng)的(de)應(ying)力(li)集(ji)中(zhong),在(zai)外(wai)力(li)撤(che)出(chu)後(hou), duanqineijiuhuichanshengjuxiang,shenzhihuizaochenggongdingyuketifenli。ruguowailizuoyongchudehanjieyinglidayuwanqubianxingchudeyinglishi,lukehanfengyinglijizhongyirancunzai。neibihanfenghuichuxianliangzhongkeneng:一種是應力集中產生的裂紋,熱風爐經過一段時間運行後,就會出現爐殼表麵的焊縫開裂;另(ling)一(yi)種(zhong)是(shi)有(you)應(ying)力(li)集(ji)中(zhong)但(dan)沒(mei)有(you)產(chan)生(sheng)裂(lie)紋(wen),這(zhe)就(jiu)是(shi)最(zui)理(li)想(xiang)的(de)熱(re)風(feng)爐(lu)爐(lu)殼(ke)。因(yin)為(wei)有(you)裂(lie)紋(wen)和(he)沒(mei)有(you)裂(lie)紋(wen)的(de)應(ying)力(li)集(ji)中(zhong),都(dou)可(ke)以(yi)在(zai)熱(re)風(feng)爐(lu)烘(hong)爐(lu)和(he)運(yun)行(xing)過(guo)程(cheng)中(zhong),通(tong)過(guo)人(ren)工(gong)時(shi)效(xiao)的(de)方(fang)法(fa)減(jian)少(shao)和(he)消(xiao)除(chu)應(ying)力(li)集(ji)中(zhong)。這(zhe)樣(yang)的(de)爐(lu)殼(ke),應(ying)該(gai)是(shi)長(chang)壽(shou)命(ming)的(de)爐(lu)殼(ke)(有焊接缺陷的除外)。
堅決避免焊縫開裂 爐殼安全又長壽
專家們分析認為,爐殼在校對焊接過程中, 產生的氣孔、疏鬆、夾渣、龜裂等焊接缺陷與撬動合攏產生的應力集中、原(yuan)材(cai)料(liao)的(de)含(han)硫(liu)量(liang)及(ji)其(qi)焊(han)接(jie)技(ji)術(shu)都(dou)有(you)直(zhi)接(jie)或(huo)者(zhe)間(jian)接(jie)的(de)關(guan)係(xi)。因(yin)為(wei)焊(han)接(jie)過(guo)程(cheng)中(zhong)遇(yu)到(dao)撬(qiao)動(dong)合(he)攏(long)變(bian)形(xing)產(chan)生(sheng)的(de)應(ying)力(li)集(ji)中(zhong)處(chu),焊(han)條(tiao)熔(rong)化(hua)導(dao)致(zhi)撬(qiao)動(dong)變(bian)形(xing)處(chu)產(chan)生(sheng)微(wei)變(bian)形(xing),焊(han)條(tiao)在(zai)熔(rong)化(hua)過(guo)程(cheng)中(zhong)容(rong)易(yi)形(xing)成(cheng)焊(han)接(jie)缺(que)陷(xian)。如(ru)果(guo)原(yuan)材(cai)料(liao)含(han)硫(liu)量(liang)過(guo)高(gao),在(zai)焊(han)接(jie)加(jia)熱(re)與(yu)冷(leng)卻(que)過(guo)程(cheng)中(zhong),經(jing)過(guo)1150℃~1200℃之(zhi)間(jian)的(de)時(shi)候(hou),產(chan)生(sheng)熱(re)脆(cui)現(xian)象(xiang),容(rong)易(yi)造(zao)成(cheng)龜(gui)裂(lie)和(he)氣(qi)孔(kong)等(deng)焊(han)接(jie)缺(que)陷(xian)。如(ru)果(guo)焊(han)接(jie)人(ren)員(yuan)不(bu)了(le)解(jie)撬(qiao)動(dong)合(he)攏(long)應(ying)力(li)集(ji)中(zhong)和(he)原(yuan)材(cai)料(liao)焊(han)接(jie)性(xing)能(neng)進(jin)行(xing)焊(han)接(jie),產(chan)生(sheng)焊(han)接(jie)缺(que)陷(xian)的(de)概(gai)率(lv)就(jiu)會(hui)更(geng)大(da)。因(yin)此(ci),焊(han)工(gong)在(zai)焊(han)接(jie)前(qian),應(ying)該(gai)詳(xiang)細(xi)了(le)解(jie)爐(lu)殼(ke)所(suo)用(yong)的(de)原(yuan)材(cai)料(liao)和(he)爐(lu)殼(ke)的(de)加(jia)工(gong)和(he)焊(han)接(jie)工(gong)藝(yi),然(ran)後(hou)再(zai)進(jin)行(xing)焊(han)接(jie)。如(ru)果(guo)產(chan)生(sheng)了(le)焊(han)接(jie)缺(que)陷(xian),一(yi)定(ding)會(hui)影(ying)響(xiang)爐(lu)殼(ke)的(de)使(shi)用(yong)壽(shou)命(ming)。因(yin)為(wei)在(zai)熱(re)風(feng)爐(lu)運(yun)行(xing)過(guo)程(cheng)中(zhong),受(shou)到(dao)周(zhou)期(qi)性(xing)3千克/平方厘米~5千克/平方厘米氣體壓力作用,焊接缺陷產生的氣孔、疏鬆、夾雜、龜(gui)裂(lie)等(deng)尖(jian)角(jiao)部(bu)位(wei)又(you)會(hui)產(chan)生(sheng)應(ying)力(li)集(ji)中(zhong),在(zai)應(ying)力(li)作(zuo)用(yong)下(xia)產(chan)生(sheng)微(wei)裂(lie)紋(wen),腐(fu)蝕(shi)介(jie)質(zhi)進(jin)入(ru)微(wei)裂(lie)紋(wen)腐(fu)蝕(shi),一(yi)直(zhi)延(yan)伸(shen)到(dao)爐(lu)殼(ke)表(biao)麵(mian)看(kan)到(dao)焊(han)縫(feng)開(kai)裂(lie)。這(zhe)應(ying)該(gai)是(shi)應(ying)力(li)腐(fu)蝕(shi)和(he)腐(fu)蝕(shi)疲(pi)勞(lao)造(zao)成(cheng)的(de)惡(e)果(guo)。
專zhuan家jia們men還hai分fen析xi認ren為wei,熱re風feng爐lu爐lu殼ke在zai校xiao對dui焊han接jie過guo程cheng中zhong,由you於yu變bian形xing產chan生sheng的de應ying力li集ji中zhong和he焊han接jie產chan生sheng的de應ying力li集ji中zhong造zao成cheng的de焊han接jie裂lie紋wen與yu焊han接jie缺que陷xian,在zai熱re風feng爐lu運yun行xing過guo程cheng中zhong,在zai周zhou期qi性xing3千克/平方厘米~5千克/平ping方fang厘li米mi壓ya力li作zuo用yong下xia,應ying力li集ji中zhong造zao成cheng的de運yun行xing裂lie紋wen都dou會hui在zai周zhou期qi性xing壓ya力li和he腐fu蝕shi介jie質zhi作zuo用yong下xia,裂lie紋wen越yue來lai越yue深shen,越yue來lai越yue長chang,介jie質zhi腐fu蝕shi也ye越yue來lai越yue嚴yan重zhong,直zhi到dao人ren們men發fa現xian爐lu殼ke外wai部bu焊han縫feng開kai裂lie。這zhe應ying該gai是shi應ying力li腐fu蝕shi的de全quan過guo程cheng,是shi熱re風feng爐lu爐lu殼ke壽shou命ming短duan的de重zhong要yao原yuan因yin。
爐殼選材慎之又慎 安全生產警鍾長鳴
目前,我國頂燃式熱風爐爐殼開裂時采取的處理措施有以下幾種:
措施一:沿焊縫兩側10厘米~20厘米熱影響區爐殼進行切割(內裂縫區域),ranhoucaiyongxindegangbantianbuhanbujie。danzheyangdetianbuhanjiefangfahuishihanfengzengjiayibei,huidaozhihanfengxindereyingxiangquneibulukezaiciguiliefasheng,anquanyinhuangengda。zhezhongfangfabushihenhaodechuliliefengdefangfa,huishihanfengzhouxiangchanshengxindehanjieyingliliewenjifushikailie。
措施二:選用壓力容器鋼板Q345C+904L複合鋼板或者Q345R+904L複合鋼板,都取得了較好的處理效果。
wuluncaiqucuoshiyihuozhecuoshier,suirandounengjiejuelukekailiewenti,danshidouxuyaodanzuorefenglutingluqiegelukehuozhewabulukeshishiweixiu,weixiugongchengliangdaqietinglushijianchang,yingxiangfengwenheqiyexiaoyi。yi5000m³級別高爐配套4座頂燃式熱風爐切割爐殼大修為例:維修工期約一年時間,其切割維修影響企業經濟效益大約在1.5億元至1.6億元之間;如果采用挖補維修,維修期一般為8個月左右,其費用和企業經濟損失也在億元左右,損失比較大。
綜合采用爐外增加一層Q345R爐殼,新老爐殼之間增加保溫材料(寧可采用Q345R,也不能再采用具有熱脆、冷脆、氣孔、焊接瑕疵且具有加工殘存應力損傷的Q345C),可確保內層老爐殼溫度大於100℃,冷(leng)凝(ning)水(shui)珠(zhu)變(bian)為(wei)蒸(zheng)汽(qi)蒸(zheng)發(fa),避(bi)免(mian)燃(ran)燒(shao)和(he)送(song)風(feng)過(guo)程(cheng)中(zhong)大(da)量(liang)生(sheng)成(cheng)的(de)氮(dan)氧(yang)化(hua)物(wu)和(he)硫(liu)化(hua)物(wu)氣(qi)體(ti)與(yu)掛(gua)在(zai)爐(lu)殼(ke)壁(bi)上(shang)的(de)冷(leng)凝(ning)水(shui)珠(zhu)結(jie)合(he),形(xing)成(cheng)酸(suan)根(gen)腐(fu)蝕(shi)介(jie)質(zhi)腐(fu)蝕(shi)應(ying)力(li)損(sun)傷(shang)的(de)鋼(gang)殼(ke)組(zu)織(zhi)和(he)焊(han)縫(feng)裂(lie)紋(wen)(該爐殼解決方法已經申報國家專利)。
另一種是很多單位常見的方法,就是讓高溫區域爐殼溫度大於100℃甚至到150℃~180℃, 目的也是讓冷凝水珠變為蒸汽蒸發,防止冷凝水珠與氮化物、硫化物生成腐蝕介質,但這樣做會大大增加熱風爐的散熱損失。筆者簡單核算散熱損失,按照日產12000噸鐵產能,全年按照350天、420萬噸鐵產能,如果爐殼平均溫度為90℃,其每小時散熱損失為702240千卡/(小時·座),折合煤氣量為936.32立方米/(小時·座),折合煤氣消耗量為7.49立方米/噸鐵,全年爐殼散熱損失折合煤氣用量31458000立方米;如果爐殼平均溫度為 120℃,其每小時散熱損失為1083760千卡/(小時·座),折合煤氣量為1445.01立方米/(小時·座),折合噸鐵煤氣消耗量為11.56立方米/噸 ,全年爐殼散熱損失折合煤氣用量48552000立方米;如果爐殼平均溫度150℃,其每小時散熱損失為1526080千卡/(小時·座),折合煤氣量為 2034.77立方米/(小時·座),折合煤氣消耗量為16.26立方米/噸,全年爐殼散熱損失折合煤氣用量68376000立方米。爐殼平均溫度由90℃增加到150℃,每年多浪費36918000立方米煤氣,超過了爐殼90℃時的熱損失(燃燒室爐殼溫度低於90度為常規設計,如果采用豫興的這項專利對燃燒室實施外保溫,其節能成本將更高)。降低效率、在增加燃料成本、氮氧化物增加、二氧化碳排放增加、企業效益降低,這是得不償失的舉措。而新增加的外覆部爐殼既可以承壓承重又可以避免散熱損失,節約燃料、提高效率、減氮減碳,還不需要單座熱風爐停產,可以徹底消除爐殼開裂的安全隱患。
上shang述shu應ying力li集ji中zhong的de分fen析xi說shuo明ming,要yao想xiang解jie決jue砌qi築zhu的de耐nai材cai受shou力li導dao致zhi的de應ying力li集ji中zhong,就jiu要yao從cong耐nai材cai砌qi築zhu結jie構gou的de加jia熱re受shou力li著zhe手shou。豫yu興xing四si段duan式shi熱re風feng爐lu就jiu是shi采cai取qu把ba熱re風feng出chu口kou直zhi段duan和he錐zhui段duan做zuo了le防fang止zhi應ying力li集ji中zhong的de分fen散san處chu理li方fang法fa,錐zhui形xing拱gong頂ding和he熱re風feng出chu口kou直zhi段duan各ge自zi獨du立li支zhi撐cheng,減jian少shao了le應ying力li集ji中zhong,很hen好hao地di解jie決jue了le現xian有you頂ding燃ran式shi熱re風feng爐lu熱re風feng出chu口kou受shou力li損sun壞huai問wen題ti,保bao障zhang了le燃ran燒shao室shi結jie構gou和he熱re風feng出chu口kou結jie構gou的de穩wen定ding長chang壽shou。首shou鋼gang張zhang福fu明ming專zhuan家jia團tuan隊dui提ti出chu的de擬ni合he懸xuan鏈lian線xian結jie構gou解jie決jue了le燃ran燒shao室shi部bu位wei另ling外wai三san個ge問wen題ti:其(qi)一(yi)是(shi)采(cai)用(yong)懸(xuan)鏈(lian)線(xian)拱(gong)頂(ding)擬(ni)合(he)結(jie)構(gou),徹(che)底(di)解(jie)決(jue)了(le)原(yuan)燃(ran)燒(shao)室(shi)錐(zhui)段(duan)不(bu)合(he)理(li)受(shou)力(li)導(dao)致(zhi)的(de)錐(zhui)形(xing)拱(gong)頂(ding)中(zhong)部(bu)砌(qi)體(ti)下(xia)垂(chui),而(er)拱(gong)腳(jiao)部(bu)位(wei)受(shou)力(li)使(shi)錐(zhui)形(xing)拱(gong)頂(ding)喇(la)叭(ba)口(kou)直(zhi)徑(jing)擴(kuo)大(da)損(sun)壞(huai)耐(nai)材(cai)牆(qiang)體(ti);其二是錐形拱頂的剪切應力、重力、下(xia)滑(hua)力(li)綜(zong)合(he)作(zuo)用(yong)對(dui)錐(zhui)形(xing)拱(gong)頂(ding)中(zhong)部(bu)的(de)不(bu)合(he)理(li)受(shou)力(li)導(dao)致(zhi)錐(zhui)形(xing)中(zhong)部(bu)下(xia)垂(chui),拱(gong)腳(jiao)部(bu)位(wei)受(shou)力(li)使(shi)錐(zhui)形(xing)拱(gong)頂(ding)喇(la)叭(ba)口(kou)直(zhi)徑(jing)擴(kuo)大(da),導(dao)致(zhi)爐(lu)殼(ke)球(qiu)麵(mian)部(bu)位(wei)鋼(gang)殼(ke)受(shou)力(li)損(sun)傷(shang)和(he)應(ying)力(li)腐(fu)蝕(shi)開(kai)裂(lie);qisanshijiangranshaoshizhiduanheqizhuzaishangmiandezhuixinggongdingyouhuaweinihexuanlianxiangongdingjiegoubingshishifenlisheji,youxiaozhuanyifensanleyingli,jiejuelenaicaiyinglihegangkeyinglizuoyong。zaitongguogaibianlukecaizhi,caiyongshiyingdaxinggaolugaofengwen、高風壓熱風爐要求的壓力容器爐殼鋼板Q345R替代Q345C爐殼鋼板,用簡單易行的方式徹底解決腐蝕開裂現象,確保燃燒室內襯耐材和爐殼消除所有應力從而實現穩定長壽高風溫目標。(劉世聚)
來源:中國冶金報-中國鋼鐵新聞網
編輯:張雨恬
相關文檔
版權說明
【1】 凡本網注明"來源:中國冶金報—中國鋼鐵新聞網"的所有作品,版權均屬於中國鋼鐵新聞網。媒體轉載、摘編本網所刊 作品時,需經書麵授權。轉載時需注明來源於《中國冶金報—中國鋼鐵新聞網》及作者姓名。違反上述聲明者,本網將追究其相關法律責任。
【2】 凡本網注明"來源:XXX(非中國鋼鐵新聞網)"的作品,均轉載自其它媒體,轉載目的在於傳遞更多信息,並不代表本網 讚同其觀點,不構成投資建議。
【3】 如果您對新聞發表評論,請遵守國家相關法律、法規,尊重網上道德,並承擔一切因您的行為而直接或間接引起的法律 責任。
【4】 如因作品內容、版權和其它問題需要同本網聯係的。電話:010—010-64411649
【2】 凡本網注明"來源:XXX(非中國鋼鐵新聞網)"的作品,均轉載自其它媒體,轉載目的在於傳遞更多信息,並不代表本網 讚同其觀點,不構成投資建議。
【3】 如果您對新聞發表評論,請遵守國家相關法律、法規,尊重網上道德,並承擔一切因您的行為而直接或間接引起的法律 責任。
【4】 如因作品內容、版權和其它問題需要同本網聯係的。電話:010—010-64411649
地址:北京市朝陽區安貞裏三區26樓 郵編:100029 電話:(010)64442120/(010)64442123 傳真:(010)64411645 電子郵箱:
中國冶金報/中國鋼鐵新聞網法律顧問:大成律師事務所 楊貴生律師 電話: Email:
中國鋼鐵新聞網版權所有,未經書麵授權禁止使用 京ICP備07016269號 京公網安備11010502033228




























